對于有效的阻抗測量,所研究的系統應該是線性的、穩定的、因果的和平穩的。EC-Lab的THD質量指示器可用于測試系統的線性度。
這里的平穩性意味著兩個不同的東西:穩態和時間不變性。
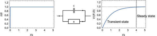
穩態是指系統不處于瞬態的狀態。例如,具有一定時間常數的R/C電路被施加到電位或電流階躍。在達到穩定狀態后,其響應將隨時間變化(圖1)。
圖1:R/C電路(中間)對電流階躍(左)的電位響應(右),說明系統的穩態。
時間方差是定義其傳遞函數的參數隨時間變化的系統的性質。例如,極化電阻隨時間變化的腐蝕電極,無論是由于腐蝕還是鈍化,都是時變系統。放電電池在放電過程中也會看到其各種電阻(電荷轉移、擴散)的變化(圖2)。有時穩態和時間不變性很難區分。
圖2:運行中的電池是一個時變系統。
瞬態或時間變化對EIS測量的影響通常在較低的頻率下可見,因為變化通常比EIS中使用的高頻慢,例如從1MHz到10Hz。當測量時間長到足以捕捉時間方差時,就會看到其影響。在腐蝕電極的極化電阻發生變化的情況下,在1Hz左右或低于1Hz的頻率下可以看到這種影響。結果是低頻的數據變形了,如圖3所示。

圖3:耐候鋼樣品(未披露成分)在0.1M H2SO4溶液中的Nyquist圖譜
在圖3中,低于32mHz的數據是由于系統的極化電阻隨時間的變化而引起的。如圖4所示的非平穩變形(NSD)系數所示,阻抗數據似乎從1.1Hz開始受到穩態和時變效應的影響,因為它是NSD增加的頻率。在32mHz時,NSD的值小到0.58%,并且可以在圖3中看到,這樣的小值可以代表阻抗圖的劇烈變形。
圖4:圖3所示的EIS測量電流響應的非平穩變形(NSD)
(低于1.1赫茲時,NSD開始增加)
解決這個問題的一個簡單方法是在EC-Lab中使用一個名為Z Inst的工具(EC-Lab軟件下Analysis→Electrochemical Impedance Spectroscopy→Z inst),它實現了Z. Stoynov和B. Savoya[1]發現的一個方法。該方法的基本步驟如下:
1) 在一個隨時間變化的系統上,按順序獲得若干阻抗圖(圖5a);
2) 阻抗數據被繪制為時間的函數(圖5b);
3) 相同頻率的數據被連接和插值;
4) 得到一個阻抗面;
5) 通過選擇隧道的橫截面,可以得到瞬時阻抗數據(圖5c、5d)。
圖5:a)腐蝕電極的Nyquist圖表示的連續阻抗圖;b)作為時間函數的相應3D顯示;c)由20個橫截面的“Z Inst”工具獲得的瞬時阻抗的Nyquist圖;d)作為時間函數的相應3D顯示
圖5c和5d中所示的阻抗圖可以認為是從腐蝕電極的時間變化和極化電阻的變化來修正的。ZFit可用于確定所有相關參數,如雙電層電容Cdl、電荷轉移電阻Rct和低頻極限極化電阻Rp。應該注意的是,大多數阻抗圖在低頻時都有一個感應部分,這表明質子的還原反應涉及一個吸附步驟[2]。
參考文獻
[1] Z. Stoynov, B. Savoya, J. Electroanal. Chem. 112 (1980) p. 157
[2] J.-P. Diard, P. Landaud, B. Le Gorrec, C. Montella, J. Electroanal. Chem. 255 (1988) p. 1
(https://www.biologic.net/topics/how-to-check-and-correct-the-time-variance-of-your-system-under-eis-measurements/)